






概述
电动调节阀是DKJ型电动单元组合仪表中的执行机构,它接受统一的标准信号0-10MA(D\C):4-20mS(D\C)经伺服放大器放大,使电机带动减速器运行而产生轴向推力,是阀芯作相应移动,从而达到对压力、流量、温度、液体等工艺参数的调节。
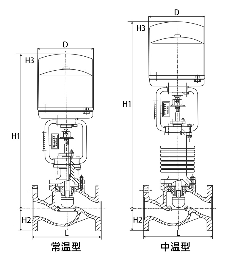
电动调节是由DKZ型执行机构和调节阀两部分组成。执行机构构足推动装置,它以电源为动力,输出推力,调节阀是调节部分,直接与介质接触,调节介质的流量。
电动直通单座调节阀,具有泄漏量少的优点,但不平衡力较大,故工作压差不宜过高。电动直通双座调节阀,具有流通能力大、不平衡力小的优点。广泛应用于化工、石油、冶金、电力、轻纺等工业生产过程的自动调节中。
口径:DN20-300
压力:1.6、2.5、4.0、6.4MPa
材质:铸钢、不锈钢等
型号编制说明