原理
涡街流量计是根据Carmen Vortex原理制造的一种测量蒸汽,饱和蒸汽,压缩空气,氮气等气体的仪器。其主要特点是支持脉冲,模拟量,485通讯,远程无线传输等信号传输,使用者可通过计算机和手机可随时访问数据,非常的方便且实用,在众多工业领域都有很好的应用。

原理内容推荐阅读:
气体涡街流量计工作原理图
涡街流量计接线图说明(详细)
涡街流量计参数设置
结构
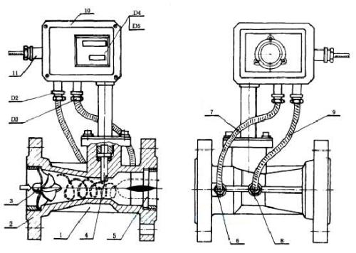
组成涡街流量计的重要部分有法兰、紧固螺栓、龙头、螺旋声发生器、探测探头、仪表杆、锁紧螺母、放大器外壳等。测量的形式有如下三种:基本式,压差式和温差补偿式。连接表头与传感器的圆形柱比较长,是为了有效隔离表头与测量介质,避免表头受高温介质的影响烧坏或读数不准确。

相关涡轮产品推荐
智能涡街流量计
防爆涡街流量计
气体涡街流量计
液体涡街流量计
带温压补偿涡街流量计
远传涡街流量计
安装
涡街流量计的安装方式可以适应不同的测量介质和安装环境。目前常见的有四种:1、法兰式,2、夹紧式,3、螺杆式,4、插件式。

相关安装内容推荐
涡街流量计的选型及安装要求
涡街流量计温压补偿公式及安装
涡街流量计安装直管段要求(说明书下载)
分析
国际标准音速喷嘴校准系统的性能远远超过传统的风机校准系统,保证了涡街流量计的稳定性和精度。同时,涡街流量计实际使用现场环境恶劣,以减少环境因素造成的应用问题,适应各种恶劣环境,保证质量。贝特在建厂之初就一直采取国际标准的音速喷嘴校准系统,因此您可以放心购买使用。